Энергореконструкция ООО

ООО Энергореконструкция
Поставка электроматериалов.
отзывов пока нет
+7 (8452) 948394
ул. Фабричная, дом 1 А, Саратов, 410015
  • +7 (8452) 948394 — тел./факс

Сайт: energorekonstr.ru

ул. Фабричная, дом 1 А
Саратовская область, Саратов, Россия, 410015
Показать на карте
Как добраться

Часы работы

Закрыто до Пн Откроется через 2 дня

Понедельник-пятница – 8:00-17:00

Суббота, воскресенье – выходной

Фотогалерея

  • Фото компании ООО Энергореконструкция 1
  • Фото компании ООО Энергореконструкция 2
  • Фото компании ООО Энергореконструкция 3
  • Фото компании ООО Энергореконструкция 4
  • Фото компании ООО Энергореконструкция 5
  • Фото компании ООО Энергореконструкция 6
  • Фото компании ООО Энергореконструкция 7
  • Фото компании ООО Энергореконструкция 8
  • Фото компании ООО Энергореконструкция 9
  • Фото компании ООО Энергореконструкция 10
  • Фото компании ООО Энергореконструкция 11
  • Фото компании ООО Энергореконструкция 12
  • Фото компании ООО Энергореконструкция 13
  • Фото компании ООО Энергореконструкция 14
  • Фото компании ООО Энергореконструкция 15
  • Фото компании ООО Энергореконструкция 16
  • Фото компании ООО Энергореконструкция 17
  • Фото компании ООО Энергореконструкция 18
  • Фото компании ООО Энергореконструкция 19
  • Фото компании ООО Энергореконструкция 20
  • Фото компании ООО Энергореконструкция 21
  • Фото компании ООО Энергореконструкция 22
  • Фото компании ООО Энергореконструкция 23
  • Фото компании ООО Энергореконструкция 24
  • Поставка электроматериалов, тепло-сантехнического материала и инженерного оборудования. 
Проектирование инженерных и архитек. работ в соответствии с проектным СРО.
Выполнение строителных работ по СРО.
    Поставка электроматериалов, тепло-сантехнического материала и инженерного оборудования. Проектирование инженерных и архитек. работ в соответствии с проектным СРО. Выполнение строителных работ по СРО.

Отзывы о Энергореконструкция, ООО

К сожалению, нашими пользователями пока еще не было оставлено ни одного отзыва о компании Энергореконструкция, ООО. Вы можете быть первым и оставить свой отзыв:

Поставьте свою оценку
Написать отзыв

Новости компании

7
СЕНТЯБРЯ
2017
Изображение новости

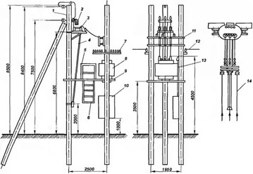
Стойки-опоры линий эл/передач железобетонные

6
СЕНТЯБРЯ
2017
Изображение новости

Щитовое оборудование 0.4/6/10

7
МАЯ
2017
C наступающим праздником Великой Победы!!!

Уважаемые ветераны, коллеги, жители Саратова и Саратовской области, Российской Федерации!

О компании

Поставка электроматериалов, тепло-сантехнического материала и инженерного оборудования.
Проектирование инженерных и архитектурных работ в соответствии с проектным СРО.
Выполнение монтажных, неотложно аварийных, капитальных (реконструкция), текущих строительных и
инженерных работ в соответствии с СРО.
Выполнение работ по монтажу автоматической пожарной, охраной сигнализации и системы оповещения.

Товары и услуги

Поставка электроматериалов, тепло-сантехнического материала и инженерного оборудования.
Проектирование инженерных и архитектурных работ в соответствии с проектным СРО.
Выполнение монтажных, неотложно аварийных, капитальных (реконструкция), текущих строительных и
инженерных работ в соответствии с СРО.
Выполнение работ по монтажу автоматической пожарной, охраной сигнализации и системы оповещения.

Кратко об организации

Организация ООО Энергореконструкция из Саратова может предложить покупателям услуги и товары в 7 направлениях деятельности, в том числе Электроустановочная продукция, Архитектурно-строительное проектирование, Сантехника и аксессуары. Фирму можно найти по адресу ул. Фабричная, дом 1 А в Саратове. Связаться с контактным лицом фирмы Энергореконструкция, чтобы получить ответ на Ваш вопрос, вы можете через сайт energorekonstr.ru, по почте energorekonstr@yandex.ru, в соц.сетях , , с помощью телефона +7 (8452) 948394.

Похожие компании поблизости

Оставьте отзыв первым
Сеть магазинов
+7 (960) 357-01-53
ТОК Олимп, Танкистов, 15
Оставьте отзыв первым
Магазин
+7 (4522) 346026
Большая Горная, 324а
Оставьте отзыв первым
Торговая компания
+7 (8452) 200098
Ильинский проезд, 6
Оставьте отзыв первым
Электрооборудования различного назначения
+7 (8452) 680362
ул. площадь Дегтярная, д. 1
Оставьте отзыв первым
Оптовые поставки электрооборудования и промышленное снабжение
+7 (8452) 256615
ул. Новоузенская, д. 51 / 63
Оставьте отзыв первым
Производство электрощитового оборудования
+7 (8452) 707791
ул. Астраханская, д. 88, к. 2